Ref No
Part Number
Description
Serial Range
Qty
Price
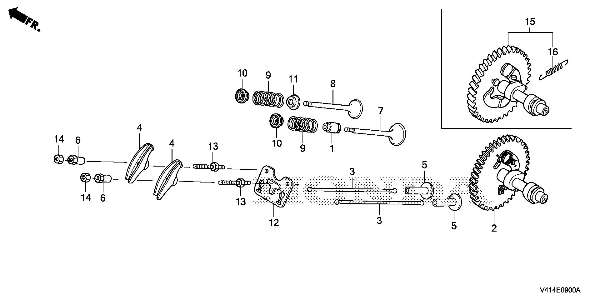
Ref No 1
Part Number 12209-ZE8-003
Description SEAL, VALVE STEM
Serial Range 1000001 - 9999999
Qty
Price $8.42
Add To Cart
Ref No 2
Part Number 14100-Z5T-911
Description CAMSHAFT (STD)
Serial Range 1000001 - 9999999
Qty
Price $215.12
Add To Cart
Ref No 2
Part Number 14100-Z5T-911
Description CAMSHAFT (STD)
Serial Range 1160375 - 1381377
Qty
Price $215.12
Add To Cart
Ref No 3
Part Number 14410-Z1C-000
Description ROD, PUSH
Serial Range 1000001 - 9999999
Qty
Price $7.80
Add To Cart
Ref No 4
Part Number 14431-ZE2-010
Description ARM, VALVE ROCKER
Serial Range 1000001 - 9999999
Qty
Price $8.92
Add To Cart
Ref No 5
Part Number 14441-ZE2-000
Description LIFTER, VALVE
Serial Range 1000001 - 9999999
Qty
Price $16.92
Add To Cart
Ref No 6
Part Number 14451-Z4M-000
Description PIVOT, ROCKER ARM
Serial Range 1000001 - 9999999
Qty
Price $6.16
Add To Cart
Ref No 6
Part Number 14451-ZE1-013
Description PIVOT, ROCKER ARM
Serial Range 1000001 - 1592447
Qty
Price $6.16
Add To Cart
Ref No 7
Part Number 14711-Z5T-900
Description VALVE, IN.
Serial Range 1000001 - 9999999
Qty
Price $8.84
Add To Cart
Ref No 8
Part Number 14721-Z5T-900
Description VALVE, EX.
Serial Range 1000001 - 9999999
Qty
Price $12.24
Add To Cart
Ref No 9
Part Number 14751-Z1C-000
Description SPRING, VALVE
Serial Range 1000001 - 9999999
Qty
Price $5.66
Add To Cart
Ref No 10
Part Number 14771-Z8S-000
Description RETAINER, IN. VALVE SPRING
Serial Range 1000001 - 9999999
Qty
Price $2.28
Add To Cart
Ref No 11
Part Number 14775-ZE2-010
Description SEAT, VALVE SPRING
Serial Range 1000001 - 9999999
Qty
Price $3.78
Add To Cart
Ref No 12
Part Number 14791-Z1D-000
Description GUIDE, PUSH ROD
Serial Range 1000001 - 9999999
Qty
Price $0.68
Add To Cart
Ref No 13
Part Number 90012-ZE0-010
Description BOLT, PIVOT (8MM)
Serial Range 1000001 - 9999999
Qty
Price $8.42
Add To Cart
Ref No 14
Part Number 90206-ZE1-000
Description NUT, PIVOT ADJUSTING
Serial Range 1000001 - 9999999
Ref No 15
Part Number 14100-Z5T-911
Description CAMSHAFT (STD)
Serial Range 1000001 - 9999999
Qty
Price $215.12
Add To Cart
Ref No 15
Part Number 14100-Z5T-911
Description CAMSHAFT (STD)
Serial Range 1160375 - 1381377
Qty
Price $215.12
Add To Cart
Ref No 16
Part Number 14568-ZE1-000
Description SPRING, WEIGHT RETURN
Serial Range 1160375 - 1381377
Qty
Price $3.34
Add To Cart